

平面油壓虎鉗采油壓結構,能輕易的鎖緊工件。

| 訂購編號 | 型號 | A | A1 | A2 | B | 夾持範圍 | D | E | F | G | J | L | L1 | 夾持力 | 主體重量 N.W. | 底盤重量 N.W. | |||
| Order No. | Model | C | C1 | C2 | C3 | ||||||||||||||
| 5770-100 | HVA100 | 105 | 135 | 170 | 58 | 0-170 | 0-57 | 55-l14 | l12-170 | 36 | 95 | 95 | 147 | 80 | 440 | 525 | 2500kgf | 21kg | 7kg |
| 5770-125 | HVA125 | 130 | 175 | 207 | 70.5 | 0-220 | 0-73 | 72-146 | 145-220 | 48 | 120 | 107 | 195 | 97 | 550 | 670 | 3000kgf | 38kg | 8kg |
| 5770-150 | HVA150 | 150 | 182 | 225 | 82.5 | 0-300 | 0-100 | 98-200 | 198-300 | 53 | 135 | 117 | 240 | 116 | 620 | 800 | 4500kgf | 53kg | 11kg |
| 5770-200 | HVA200 | 200 | 260 | 280 | 100 | 0-300 | 0-100 | 99-200 | 198-300 | 62 | 162 | 150 | 260 | 160 | 680 | 900 | 8000kgf | 95kg | 13kg |

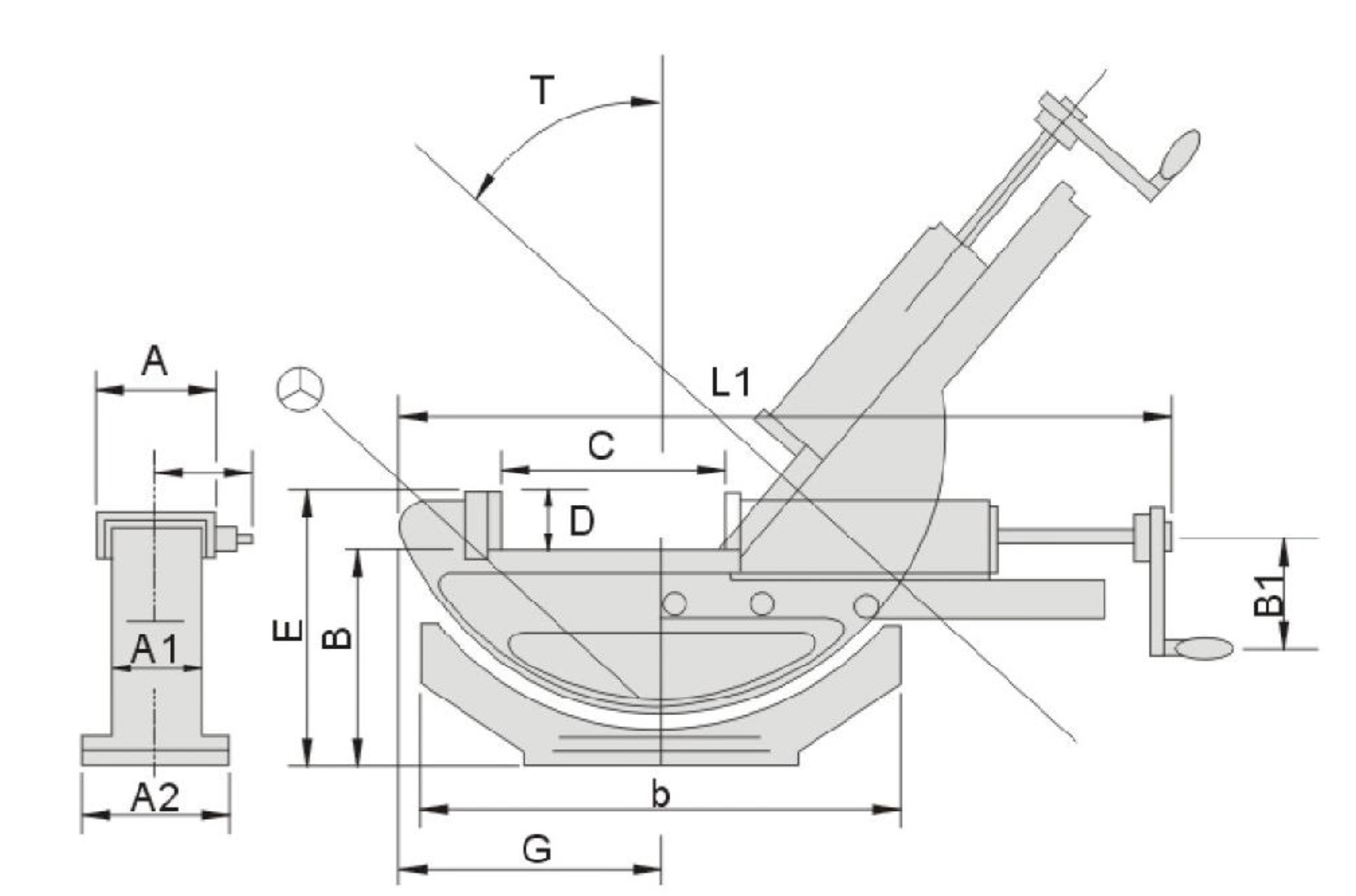
雙向式油壓虎鉗能旋轉且可傾斜角度來使用且油壓裝置能輕易的鎖緊工件。

| 訂購編號 | 型號 | A | A1 | A2 | B | B1 | b | 夾持範圍 | D | E | G | L1 | T | 主體重量 N.W. | 底盤重量 N.W. | |||
| Order No. | Model | C | C1 | C2 | C3 | |||||||||||||
| 5775-100 | HVW100 | 100 | 65 | 160 | 141 | 80 | 325 | 0-170 | 0-57 | 55-114 | 110-170 | 36 | 177 | 170 | 505 | 50° | 22.5kg | 4.0kg |
| 5775-150 | HVW150 | 150 | 95 | 240 | 186 | 100 | 410 | 0-300 | 0-100 | 98-200 | 198-300 | 51 | 237 | 200 | 775 | 50° | 68.5kg | 10.0kg |
訂購:平面油壓虎鉗 hva 5770