歡迎來到 東莞市錦鴻塑膠五金模具配件有限公司 網站!

模具配件 VODA

中國地區服務熱線:

180 3348 3551

電話:0769-87330001轉8802

c0
您的位置:首頁 > 模具配件 > 油缸系列
型號: c0 -[待選參數]

C0

工程圓型油壓缸采購指南 14Mpa Hydrarlic Cylinders How to order

工程圓型油壓缸特性資料 Specification

油壓缸內徑 Bore sizes of cy linder(mm)Φ40、Φ50、Φ63、Φ80、Φ100、Φ125、Φ140、Φ150、Φ160、Φ180、Φ200、Φ220、Φ250
行程范圍 Route of travel scope(mm)1-3500 (行程超過3500mm請與我司業務部聯系)
工作媒介 Power fluid以濾清之標準液壓油 Filtered oil
缸管材質 Material of cylinder bareel碳鋼管 Carbon steel pipe
使用壓力范圍 The range of pressure(Mpa)0.3-14Mpa (3-140kg/cm2)
使用溫度范圍 The range of temperature(℃)-10°~+150°(C)
行程公差±1

COA-CA

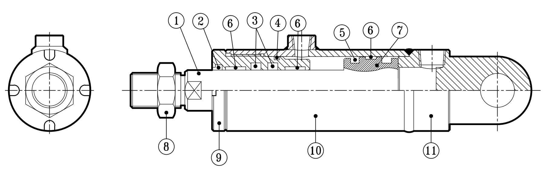
工程圓型油壓缸結構圖 Inside Structure and Parts List

No零件名 Part name數量 QuantityNo零件名 Part name數量 QuantityNo零件名 Part name數量 Quantity
1活塞桿 Piston rod15活塞環 Piston packing29前蓋 Rod plate1
2刮塵環 Dust wiper16導向環 Wearing ring210油缸本體 Cylinder tude1
3刮油環 Rod packiog17活塞本體 Piston111后蓋 End cover1
4缸封環 Gasket18軸心螺帽 Rod nut1

1

歡迎咨詢c0 產品相關問題, 咨詢電話 ? 0769-87330001轉8802,或咨詢在線客服 (工作日:8:30-18:00)。

訂購:c0

跟此產品相關的產品